Technical Sports One, LLC Banner

2002 Honda RS125R - F17 Cowl / Seat / Windscreen

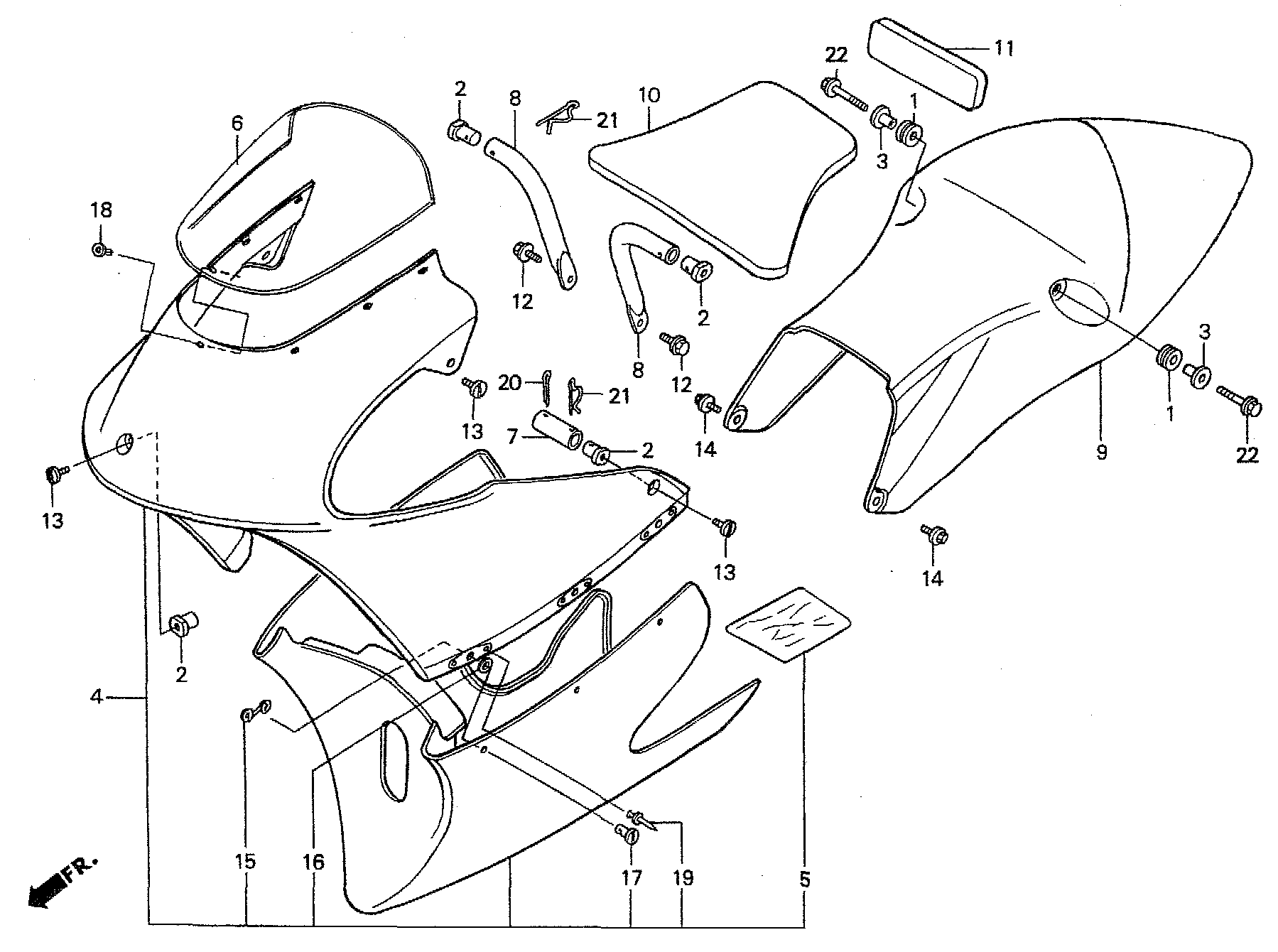
2002 Honda RS125R - F17 Cowl / Seat / Windscreen Image

This image is the property and copyright of Honda Racing Corporation.


Ref Part Number Description Qty Req Qty 1 Price Buy
1 33712-KC5-003 GROMMET, TAIL LIGHT MOUNT 2 2.95
2 50803-NF4-610 NUT, COWL STAY 5 5.25
3 61104-KA4-700 COLLAR, FENDER MOUNT 2 4.15
4 64100-NX4-810 COWLING,FR (se) 1 0.00
5 64109-NF5-750 SHEET, HEAT PROOF 1 9.65
6 64200-NX4-680 SCREEN, FRONT COWL 1 175.95
7 64210-NX4-000 STAY, FRONT COWL SIDE 2 8.35
8 64240-NX4-680 STAY, FRONT COWL TOP (2000-2003) (se) [USE 64240-NX4-680R] 2 25.30
9 77210-NX4-680 COWLING,SEAT (se) 1 0.00
10 77220-NX4-000 RUBBER, SEAT 1 15.25
11 77221-NF5-760 RUBBER, SEAT BACK 1 8.85
12 90004-GHB-620 BOLT, FLANGE NSHF (6x14) 2 1.70
13 90106-NF4-770 BOLT, COWL SET (6x13) 5 3.60
14 90108-GK1-000 BOLT, FLANGE SH (6x12) 2 1.95
15 90653-NC8-000 SPRING, FASTENER 35 6 3.35
16 90654-NC8-000 GROMMET, FASTENER 6 0.90
17 90655-NC8-000 STUD, FASTENER 35 6 7.10
18 90656-NX4-000 RIVET (4x7) 7 0.60
19 91080-NC8-300 RIVET (3.2x6.4) 12 0.30
20 94201-25300 PIN, SPLIT (2.5mm) 2 0.40
21 94252-16100 PIN, LOCK (16mm) 4 0.80
22 96001-06020-00 BOLT, FLANGE (6x20) 2 0.50