Technical Sports One, LLC Banner

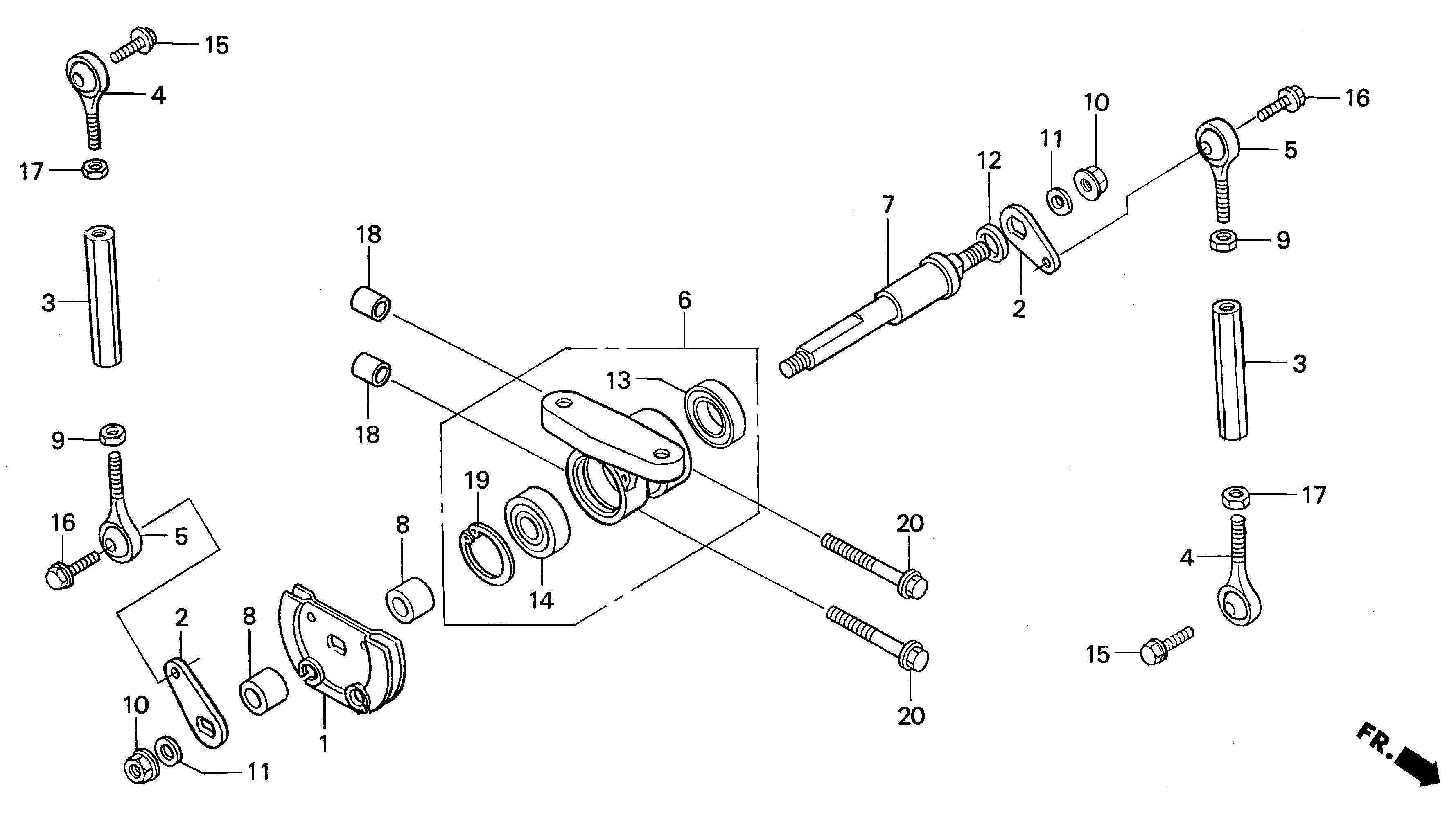
1996 Honda RS250 - E4 RC Valve Pulley / Adjusting Rods

RC Valve Pulley / Adjusting Rods Parts for a 1996 Honda RS250 Technical Sports One, LLC

This image is the property and copyright of Honda Racing Corporation.


Ref Part Number Description Qty Req Qty 1 Price Buy
1 14243-NF5-750 PULLEY COMP (se) 1 0.00
2 14245-NX5-000 ARM, POWER VALVE PULLEY 2 23.40
3 14248-NF5-750 ADJ ROD,RR 2 35.20
4 14337-NXA-003 END, ROD (5mm RH) 2 17.60
5 14338-NXA-003 ROD END, 5mm LH (se) 2 17.60
6 18150-NXA-000 HOLDER COMP, PULLEY 1 337.80
7 18152-NX5-700 SHAFT, DRIVEN PULLEY 1 60.55
8 18153-NX5-000 COLLAR (8x10) 2 3.55
9 90201-NF5-000 NUT, HEX (5mm LH) 2 1.60
10 90301-473-003 U-NUT (6mm) 2 4.15
11 90442-035-000 WASHER, SEALING (6mm) 2 2.15
12 90443-MF5-000 WASHER, THRUST, 8.5mm (se) 1 0.00
13 91001-KG8-901 BEARING, BALL RADIAL, 6901 UU 1 8.45
14 91034-NX5-003 BRG,BALL 8X22X7 (se) 1 12.70
15 92301-05014-0A BOLT, HEX CROSS (5x14) 2 0.45
16 92301-05016-0A BOLT, HEX CROSS (5x16) 2 0.45
17 94001-05000-0S NUT, HEX (5mm) 2 0.40
18 94301-08100 PIN, DOWEL (8x10) 2 0.85
19 94520-22000 CIRCLIP, INTERNAL (22mm) 1 0.50
20 96001-06040-00 BOLT, FLANGE SH (6X40) 2 0.70