Technical Sports One, LLC Banner

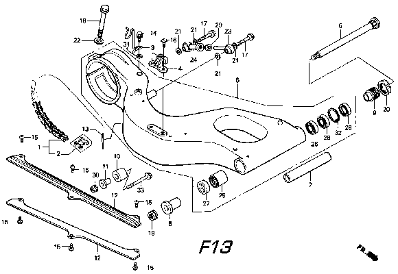
1996 Honda RS250R - F13 Rear Swingarm

Rear Swingarm Parts for a 1996 Honda RS250 Technical Sports One, LLC

This image is the property and copyright of Honda Racing Corporation.


Ref Part Number Description Qty Req Qty 1 Price Buy
1 40540-NX5-681 CHAIN,DRIVE DID520ERS2 112ZB (se) (1) 0.00
40540-NX5-681 CHAIN,DRIVE DID520ERS2 112ZB (se) (1) 0.00
2 40536-NF5-003 JOINT,DRIVE CHAIN RK (se) (1) 0.00
40536-NX5-681 JOINT ZJ,DRIVE CHAIN (se) (1) 0.00
3 43150-NX5-000 GUIDE, REAR BRAKE HOSE (se) 1 0.00
4 43468-KS6-700 GUIDE, REAR BRAKE HOSE 1 8.10
5 52100-NX5-710 SWINGARM ASSY., REAR (se) 1 0.00
6 52101-KY2-000 BOLT, SWING ARM PIVOT (se) 1 0.00
7 52102-NX5-000 COLLAR,DIST SWING ARM 1 8.45
8 52106-NX4-000 COLLAR B, SWING ARM PIVOT 1 57.75
9 52109-NX5-000 BOLT, SWING ARM PIVOT ADJUST (se) 1 0.00
10 52158-HB5-003 ROLLER, DRIVE CHAIN 1 16.95
11 52159-467-000 COLLAR, CHAIN ROLLER 1 6.45
12 52170-NX5-000 SLIDER, DRIVE CHAIN (se) 2 112.60
13 87521-ML0-731 LABEL, SWING ARM 1 6.10
14 90011-KS4-650 BOLT, FLANGE (6x10) 1 1.80
15 90101-692-000 SCREW, TRUSS GLOVE BOX 6 0.35
16 90104-ML7-920 SCREW, PAN (5x10) 2 1.85
17 90108-NX5-000 BOLT FLANGE 8X28 2 3.00
18 90155-MR8-010 BOLT, FLANGE (14x51) 1 11.85
19 90305-MB4-003 U-NUT, FLANGE (18mm) 1 6.35
20 90355-469-000 NUT, SWING ARM PIVOT 1 8.90
21 90485-GB4-790 WASHER 8mm 4 1.80
22 90559-MR8-000 WASHER, PLAIN (14mm) 1 1.80
23 91048-NX5-004 ROD END,8MM 1 19.00
24 91060-NX5-004 ROD END,8MM 1 19.00
25 91071-MR7-003 BEARING, NEEDLE SWING ARM PIVOT 1 9.95
26 91072-MR7-003 BEARING, RADIAL BALL (20x37x9) 2 7.45
27 91202-MR7-003 DUST SEAL (28x37x4) 1 4.90
28 91214-MR7-003 DUST SEAL (26x37x5) 1 6.00
29 94002-08000-0S NUT, HEX (8mm) 1 0.40
30 94050-08000 NUT, FLANGE (8mm) 1 0.55
31 94101-06000 WASHER, PLAIN (6mm) 1 0.40
32 94520-37000 CIRCLIP, INTERNAL (37mm) 1 0.95
33 96500-08045-00 BOLT, FLANGE, 8x45 1 0.75