Technical Sports One, LLC Banner

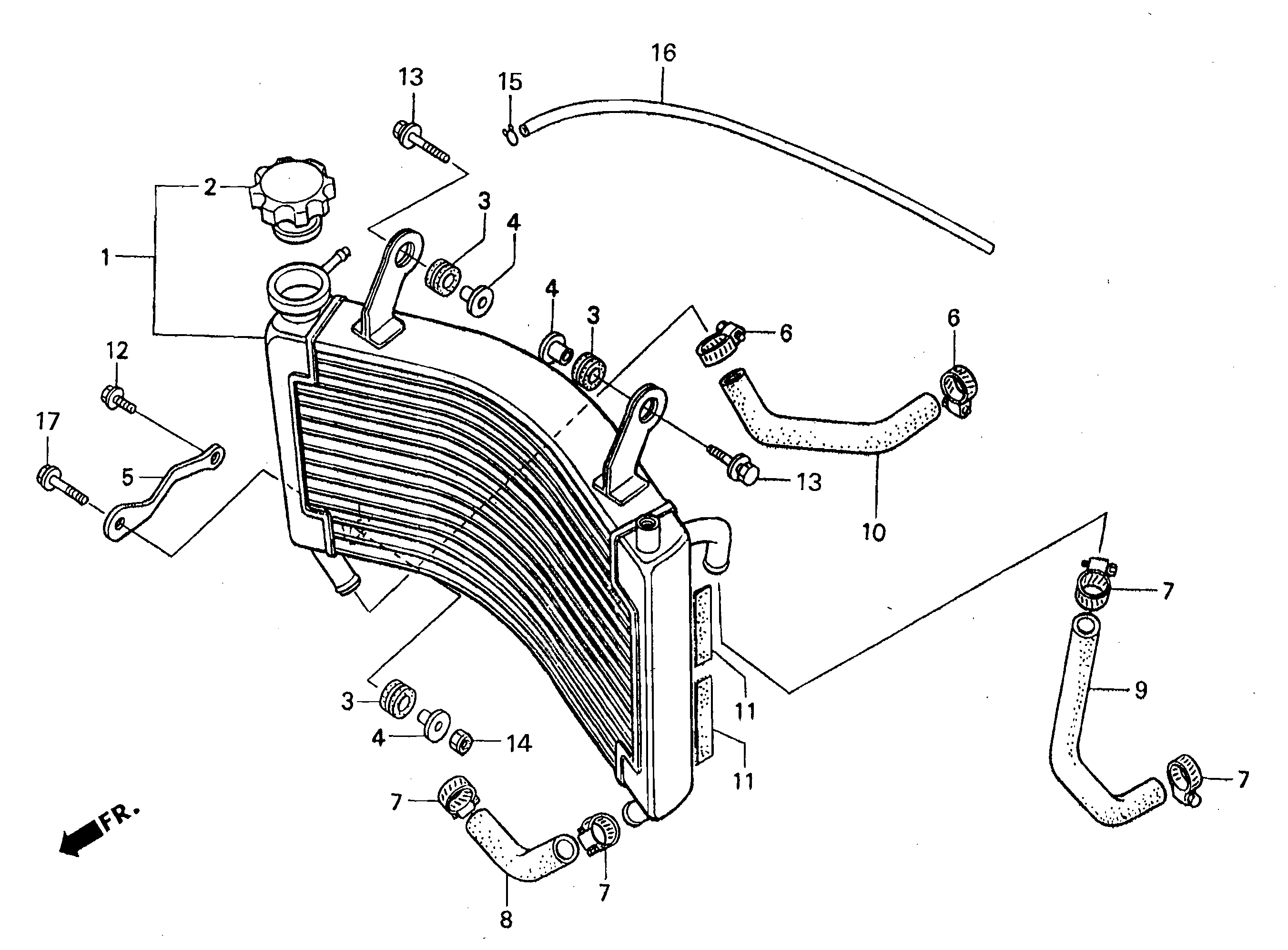
2000 Honda RS250R - F17 Radiator / Radiator Hose

Radiator / Radiator Hose Parts for a 2000 Honda RS250 Technical Sports One, LLC

This image is the property and copyright of Honda Racing Corporation.


Ref Part Number Description Qty Req Qty 1 Price Buy
1 19010-NX5-701 RADIATOR COMP (se) 1 0.00
2 19037-NX5-003 CAP COMP, RADIATOR (1.1) (se) 1 0.00
3 19051-KA3-830 RUBBER, RADIATOR MOUNT 3 2.60
4 19052-MAC-680 COLLAR, RADIATOR MOUNT 3 3.15
5 19110-NX5-700 STAY, RADIATOR (se) 1 0.00
6 19505-ML3-770 CLAMP, WATER HOSE 2 7.35
7 19506-KS6-700 CLAMP B, WATER HOSE 4 6.05
8 19514-NX5-000 HOSE A, WATER (se) 1 0.00
9 19515-NX5-000 HOSE B,WATER (se) 1 11.30
10 19516-NX5-000 HOSE C,WATER (se) 1 9.90
11 50383-HC4-750 RUBBER, BATTERY REAR 4 3.35
12 90134-ND5-000 BOLT, FLUID CHECK (6x10 SAFETY WIRE HOLES) [USE 90037-NX5-053] 1 5.85
13 93404-06025-00 BOLT-WASHER (6x25) 2 0.65
14 94050-06000 NUT, FLANGE (6mm) 1 0.55
15 95002-02080 CLIP, TUBE (B8) 1 0.50
16 95003-14025-10 V-TUBE (6x9x250) [USE 95003-14001-10M] 1 1.70
17 96500-06025-08 BOLT, FLANGE (6x25) 1 0.75