Technical Sports One, LLC Banner

1995 Yamaha TZ125 (4JT2) - E2 Crankshaft / Piston

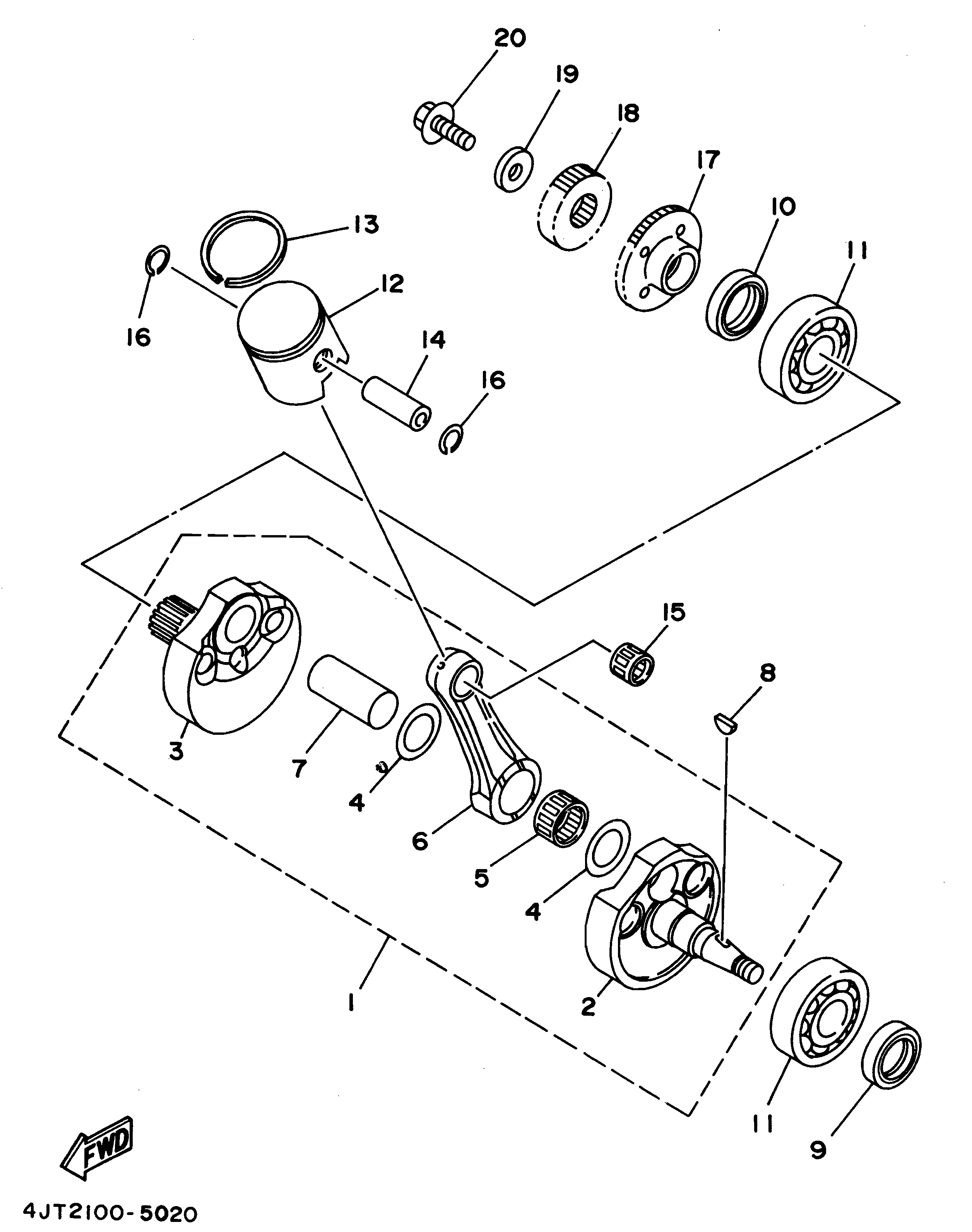
Technical Sports One, LLC 1995 Yamaha TZ125 (4JT2) Crankshaft, Piston, Piston Ring, Piston Pin, and Primary Drive Gear

This image is the property and copyright of Yamaha Motor Co., Ltd


Ref Part Number Description Qty Req Qty 1 Price Buy
1 4JT-11400-01 CRANKSHAFT ASSY. (se) 1 0.00
2 4JT-11412-01 CRANK 1 (se) 1 0.00
3 4JT-11422-01 CRANK 2 (se) 1 0.00
4 90209-24327 WASHER, THRUST 2 17.40
5 93310-524P1 BEARING, LOWER CONNECTING ROD [USE 93310-52403] 1 79.00
6 4JT-11651-00 ROD, CONNECTING TZ 125 (se) [USE 3XV-11651-01] 1 68.65
7 4JT-11681-00 PIN, CRANK 1 (se) [USE 4JT-11681-00R] 1 37.50
8 90280-04001 KEY, WOODRUFF (856) [USE 90280-04051] (se) 1 0.00
9 93102-25142 OIL SEAL, CRANKSHAFT (24.8x38x7-662) 1 13.20
10 93103-32177 OIL SEAL (4JT) [USE 93103-32183] 1 24.05
11 93306-30566 BEARING, CRANKSHAFT [USE 93306-30560] 2 32.45
12 4DP-11631-01-A0 PISTON, STANDARD (A) [USE 4DP-11631-02-A0] 1 142.50
4DP-11631-01-B0 PISTON, STBNDBRD (B) [USE 4DP-11631-02-B0] 1 142.50
4DP-11631-01-C0 PISTON, STANDARD (C) (se) [USE 4DP-11631-02-C0] 1 142.50
4DP-11631-01-D0 PISTON, STANDARD (D) [USE 4DP-11631-02-D0] (se) 1 0.00
13 1RK-11611-01 RING, PISTON 1 82.40
14 137-11633-10 PIN, PISTON 1 18.40
15 93310-316D5 BEARING, PISTON PIN (4L1) 1 24.60
16 93450-17129 CLIP, PISTON PIN 2 1.30
17 4JT-11536-00 GEAR, DRIVE BALANCER SHAFT 1 153.60
18 4JT-16111-01 GEAR, PRIMARY DRIVE 1 50.55
19 90201-10144 WASHER, PLATE 1 2.00
20 90105-10445 BOLT, WASHER BASED HEAD 1 6.35