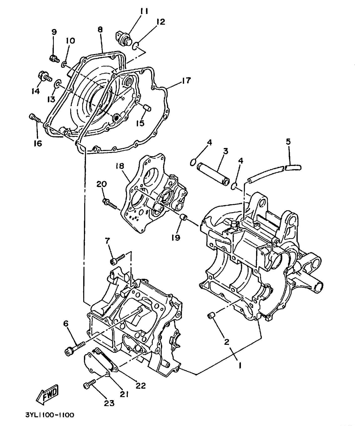
| 1 |
3YL-15100-00 |
CRANKCASE ASSY (se) |
1 |
0.00 |
|
| 2 |
99530-10014 |
PIN, DOWEL (10x14) [USE 99530-10114] |
2 |
2.25 |
|
| 3 |
3YL-15327-00 |
SPACER, ENGINE MOUNT (se) |
2 |
0.00 |
|
| 4 |
93210-15680 |
O-RING (53L) (se) |
4 |
0.00 |
|
| 5 |
90445-09496 |
HOSE (L310) |
1 |
14.35 |
|
| 6 |
90109-084F1 |
BOLT |
6 |
7.75 |
|
| 7 |
91311-06030 |
BOLT (2H7) |
9 |
1.45 |
|
| 8 |
3YL-15421-00 |
COVER, CRANKCASE 2 (se) |
1 |
0.00 |
|
| 9 |
90338-06041 |
PLUG |
1 |
8.75 |
|
| 10 |
90430-06166 |
GASKET, COPPER (4V2) |
1 |
1.20 |
|
| 11 |
4A0-15363-00 |
PLUG, OIL |
1 |
19.45 |
|
| 12 |
93210-21190 |
O-RING |
1 |
1.50 |
|
| 13 |
90430-12207 |
GASKET |
1 |
2.00 |
|
| 14 |
90109-127A3 |
BOLT, OIL DRAIN (se) |
1 |
0.00 |
|
| 15 |
99510-08012 |
PIN, DOWEL [USE 91808-12024] |
2 |
1.60 |
|
| 16 |
91316-06020 |
BOLT, SOCKET HEAD |
10 |
0.95 |
|
| 17 |
3YL-15461-00 |
GASKET, CRANKCASE GEARBOX COVER 2 |
1 |
22.55 |
|
| 18 |
3XV-15131-00 |
COVER, TRANSMISSION (se) |
1 |
0.00 |
|
| 19 |
99530-10014 |
PIN, DOWEL (10x14) [USE 99530-10114] |
2 |
2.25 |
|
| 20 |
90109-065F8 |
BOLT, TRANSMISSION CASSETTE |
7 |
2.50 |
|
| 21 |
3XV-15431-00 |
COVER, CRANKCASE 3 [USE 3XV-15431-00R] (se) |
1 |
0.00 |
|
| 22 |
3XV-15462-00 |
GASKET, CRANKCASE COVER 3 (se) |
1 |
19.40 |
|
| 23 |
92011-06014 |
BOLT, BUTTON HEAD |
3 |
1.60 |
|