Technical Sports One, LLC Banner

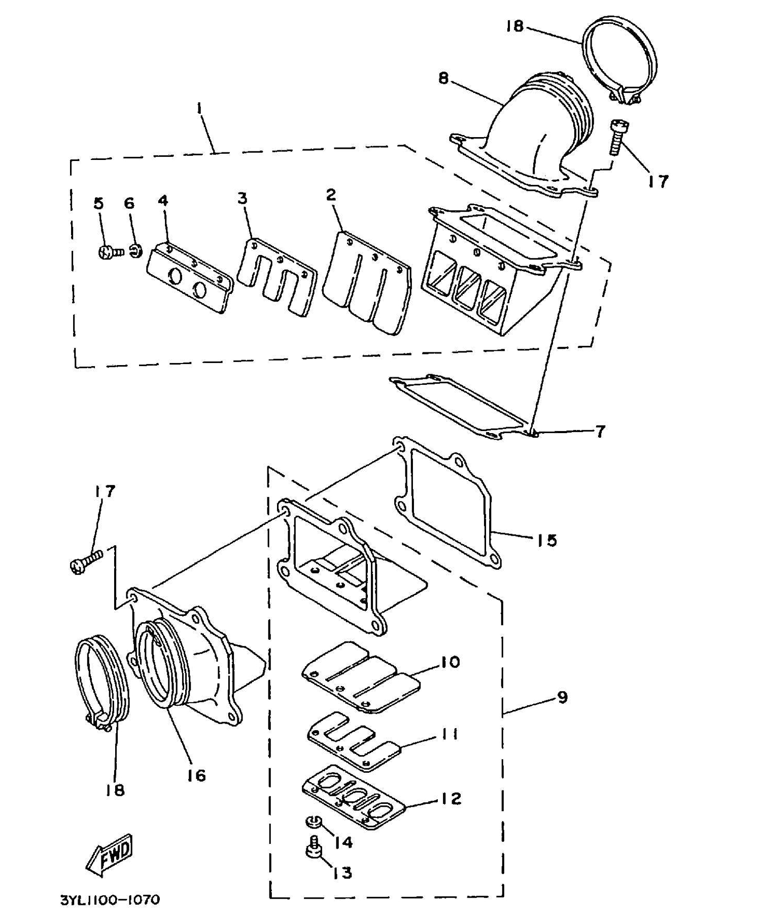
1991 Yamaha TZ250 (3YL1) - E10 Intake / Reed Valve

Technical Sports One, LLC 1991 Yamaha TZ250 (3YL1) Intake Manifold / Reed Valve

This image is the property and copyright of Yamaha Motor Co., Ltd


Ref Part Number Description Qty Req Qty 1 Price Buy
1 3YL-13610-00 REED VALVE ASSY (se) 1 0.00
2 3XV-13613-01 PEDAL, REED VALVE 2 13.70
3 2KM-13614-00 PEDAL, REED VALVE 2 2 18.40
4 3YL-13616-00 STOPPER, REED VALVE (se) 2 0.00
5 98580-03006 SCREW PAN HEAD (78G) 6 1.85
6 92990-03100 WASHER, SPRING 6 1.00
7 3XV-13621-00 GASKET, VALVE SEAT [USE 3XV-13621-01] 1 4.30
8 3YL-13555-00 MANIFOLD, CARBURETOR [USE 3YL-13555-01] (se) 1 0.00
9 3YL-13620-00 REED VALVE ASSY (se) 1 0.00
10 3XV-13613-01 PEDAL, REED VALVE 2 13.70
11 2KM-13614-00 PEDAL, REED VALVE 2 2 18.40
12 3YL-13617-00 STOPPER, REED VALVE (se) 2 27.10
13 98580-03006 SCREW PAN HEAD (78G) 6 1.85
14 92990-03100 WASHER, SPRING 6 1.00
15 3XV-13622-00 GASKET, REED VALVE 1 14.20
16 3YL-13565-00 MANIFOLD, CARBURETOR [USE 3YL-13565-01] (se) 1 0.00
17 92011-06020 BOLT, BUTTON HEAD (3MA) 8 1.50
18 90460-52264 CLAMP, HOSE 2 12.85