Technical Sports One, LLC Banner

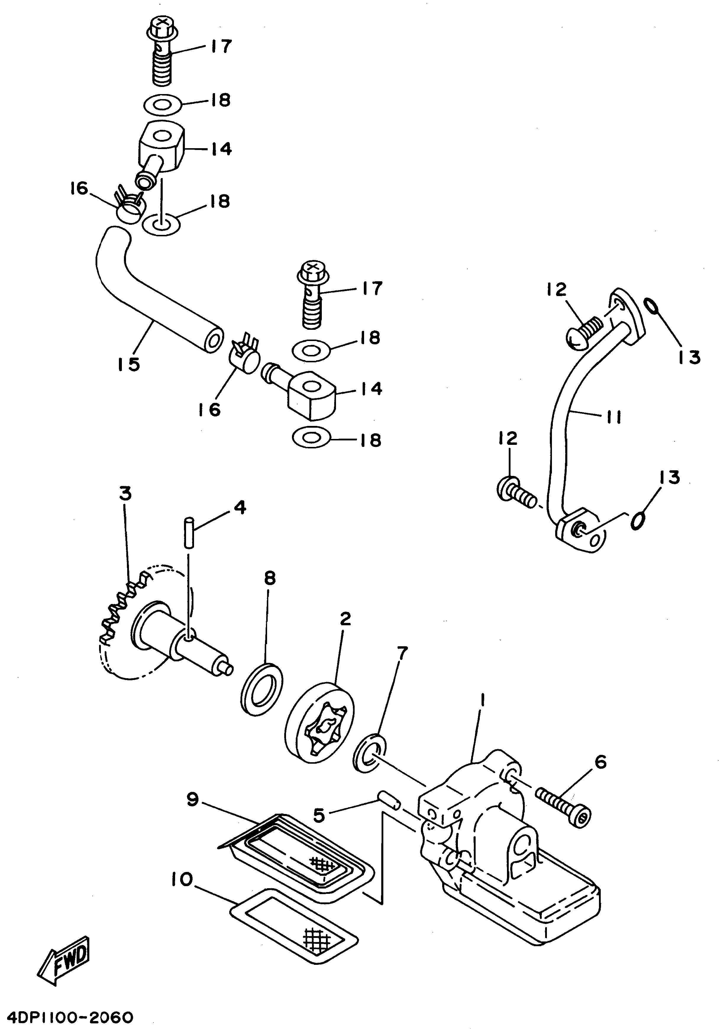
1996 Yamaha TZ250 (4TW1) - E6 Oil Pump

Technical Sports One, LLC 1996 Yamaha TZ250 (4TW1) Oil Pump

This image is the property and copyright of Yamaha Motor Co., Ltd


Ref Part Number Description Qty Req Qty 1 Price Buy
1 3XV-13316-00 COVER, PUMP (se) 1 0.00
2 5H0-13310-00 ROTOR ASSY 1, OIL PUMP 1 47.10
3 4DP-Y1332-00 GEAR, PUMP 1 127.25
4 93603-12030 PIN, DOWEL (137) 1 1.60
5 93604-10011 PIN, DOWEL (603) 2 2.05
6 91317-05020 BOLT, SOCKET HEAD (5x20) 3 1.25
7 90201-08512 WASHER, PLATE (5PH1) 1 1.60
8 90201-127E1 WASHER, PLATE (5N6) 1 1.50
9 3XV-13411-00 STRAINER, OIL 1 44.00
10 3XV-13421-00 STRAINER 2 1 19.70
11 3XV-13161-00 PIPE, DELIVERY 1 (se) 1 0.00
12 90157-05106 SCREW, PAN HEAD 2 1.25
13 93210-07540 O-RING (11M) 2 1.35
14 90405-06044 UNION 2 42.60
15 90445-10752 HOSE (L200) 1 3.40
16 90467-09120 CLIP (7F7) 2 2.05
17 90401-06003 BOLT, UNION 2 4.75
18 90430-06166 GASKET, COPPER (4V2) 4 1.20