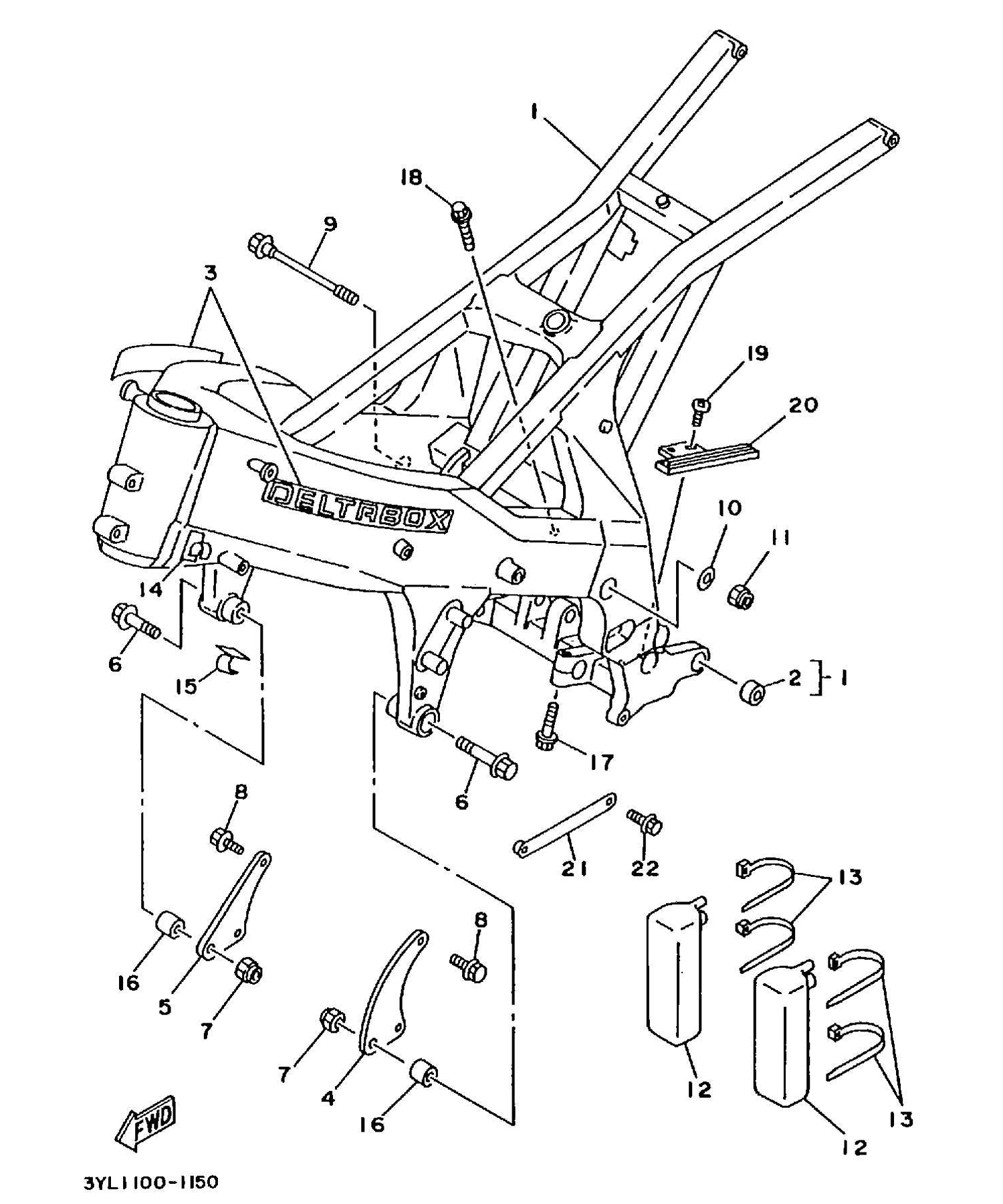
| 1 |
3YL-21110-00 |
FRAME COMP (se) |
1 |
0.00 |
|
|
3YL-21110-01 |
FRAME COMP (se) |
1 |
0.00 |
|
| 2 |
1UF-27414-00 |
DAMPER, FOOTREST [USE 36Y-27414-00] |
1 |
11.75 |
|
| 3 |
1RK-2118E-00 |
EMBLEM 1 (DELTABOX) (se) |
2 |
0.00 |
|
| 4 |
3YL-21411-00 |
BRACKET 1, ENGINE (se) |
1 |
0.00 |
|
| 5 |
3YL-21419-00 |
BRACKET 2, ENGINE (se) |
1 |
0.00 |
|
| 6 |
95801-10045 |
BOLT, FLANGE |
2 |
2.65 |
|
| 7 |
95601-10200 |
NUT, SELF-LOCKING [USE 90185-10170] |
2 |
5.50 |
|
| 8 |
95821-08020 |
BOLT, FLANGE [USE 95817-08020] |
4 |
0.95 |
|
| 9 |
90105-10300 |
BOLT, WASHER BASED HEAD |
2 |
6.25 |
|
| 10 |
92990-10600 |
WASHER, PLATE |
2 |
0.95 |
|
| 11 |
95601-10100 |
NUT, U [USE 95617-10100] |
2 |
4.45 |
|
| 12 |
3YL-21751-00 |
TANK, OIL |
2 |
24.85 |
|
| 13 |
90464-14117 |
CLAMP |
4 |
2.65 |
|
| 14 |
90464-13135 |
CLAMP |
1 |
4.15 |
|
| 15 |
90464-20136 |
CLAMP |
1 |
3.80 |
|
| 16 |
3YL-21459-00 |
SPACER |
2 |
7.40 |
|
| 17 |
95811-06030 |
BOLT, FLANGE (6x30) [USE 95817-06030] |
1 |
0.95 |
|
| 18 |
95801-06035 |
BOLT, FLANGE [USE 95817-06035] |
1 |
0.95 |
|
| 19 |
98901-05014 |
SCREW, BINDING [USE 98907-05014] |
2 |
1.60 |
|
| 20 |
3YL-22151-00 |
SEAL, GUARD |
1 |
123.85 |
|
| 21 |
3YL-2117A-00 |
STAY (se) |
1 |
0.00 |
|
| 22 |
95811-06016 |
BOLT, FLANGE (22F) |
1 |
0.95 |
|