Technical Sports One, LLC Banner

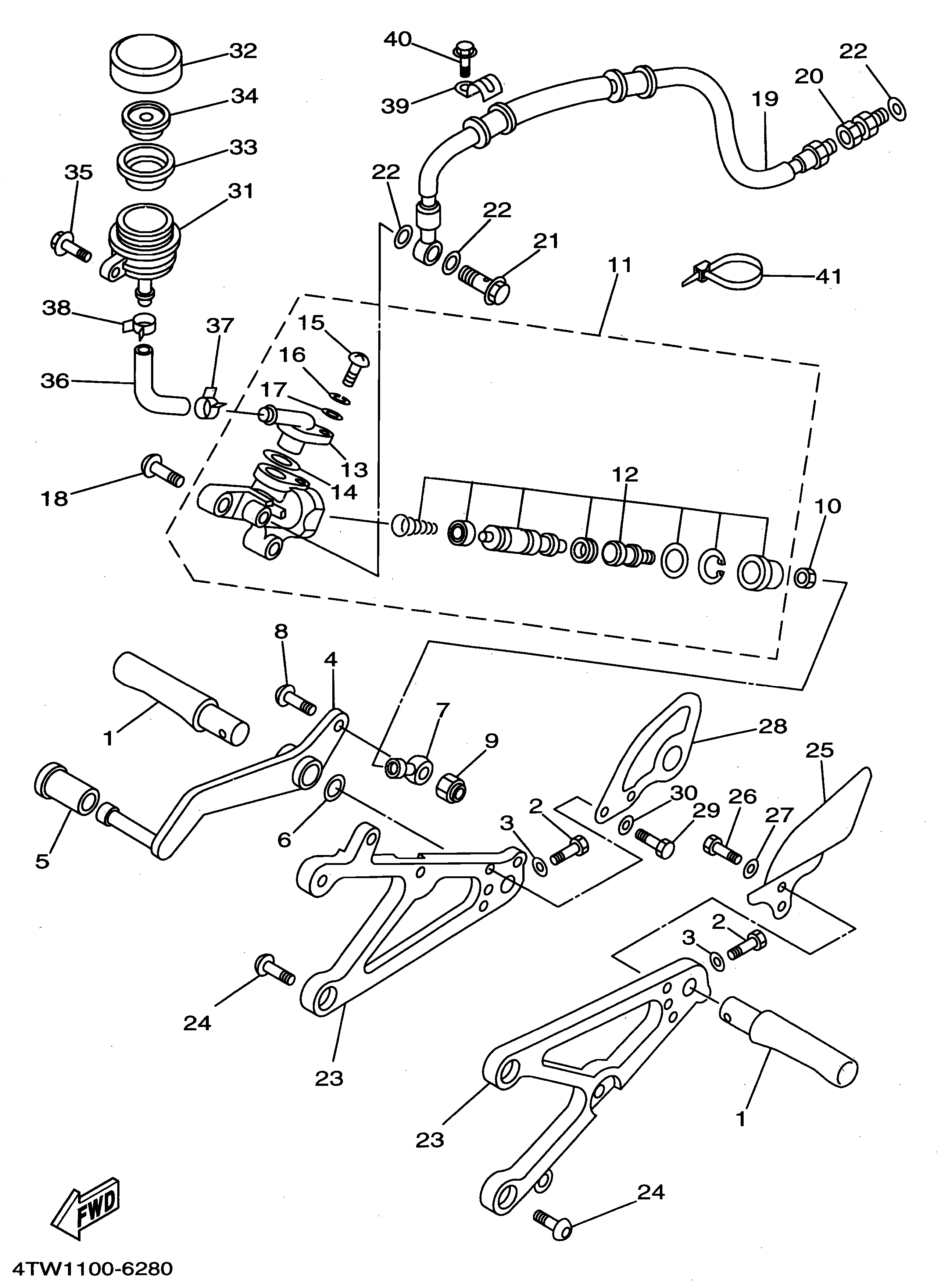
1996 Yamaha TZ250 (4TW1) - F9 Rear Brake Master Cylinder / Foot Peg

Technical Sports One, LLC 1996 Yamaha TZ250 (4TW1) the Rear Brake Master Cylinder / Foot Peg

This image is the property and copyright of Yamaha Motor Co., Ltd


Ref Part Number Description Qty Req Qty 1 Price Buy
1 4JT-27411-20 FOOTREST 1 (se) 2 126.70
2 97017-06020 BOLT, HEX HEAD (6x20) 2 1.30
3 92907-06600 WASHER, PLATE 2 0.90
4 4JT-27211-00 PEDAL, REAR BRAKE (se) 1 0.00
5 240-18113-00 COVER, SHIFT PEDAL 1 6.20
6 90201-14212 WASHER, PLATE 1 2.95
7 8CW-18156-00 JOINT 1 1 32.10
8 92017-06020 BOLT, BUTTON HEAD 1 1.50
9 95617-06100 NUT, U 1 1.20
10 95317-06600 NUT 1 1.50
11 3YL-2583V-00 REAR MASTER CYLINDER ASSY 1 201.35
12 3YL-W0042-50 CYLINDER KIT, MASTER 1 184.15
13 29L-2582A-50 CONNECTOR 1 11.95
14 93210-15566 O-RING (34J) 64 1 1.10
15 98517-04012 SCREW, PAN HEAD (4U5) 1 0.90
16 92990-04100 WASHER, SPRING 1 1.00
17 92990-04600 WASHER (646) 1 0.90
18 92017-08025 BOLT, BUTTON HEAD (8x25) 2 1.80
19 4DP-25874-00 HOSE, REAR BRAKE (se) 1 0.00
20 3LC-25885-00 JOINT 1 18.95
21 90401-10159 BOLT, UNION 1 3.00
22 90201-10118 WASHER PLATE (481) 3 1.10
23 4JT-27412-10 BRACKET, FOOTREST1 (se) 2 0.00
24 92017-08020 BOLT, BUTTON HEAD (8x20) 4 1.10
25 4TW-27445-00 PLATE 1 (se) 1 0.00
26 97017-05016 BOLT (4TW) 2 2.15
27 92907-05600 WASHER 2 0.95
28 4TW-27264-00 BRACKET 2 (se) 1 0.00
29 97017-05016 BOLT (4TW) 2 2.15
30 92907-05600 WASHER 2 0.95
31 2VN-25894-00 TANK, RESERVOIR 1 10.90
32 3XP-25852-50 CAP, RESERVOIR 1 13.00
33 2VN-25854-00 DIAPHRAGM, RESERVOIR 1 14.15
34 2VN-25855-00 BUSH, DIAPHRAGM 1 6.10
35 90109-06757 BOLT (34L) [USE 95814-06016] 1 1.50
36 3YL-25895-00 HOSE, REAR BRAKE RESERVOIR (se) 1 0.00
37 90467-14057 CLIP (5K4) 1 1.50
38 90467-11044 CLIP (7K7) 1 1.50
39 3XV-25876-00 HOLDER,BRAKE HOSE 2 2 15.65
40 95027-06016 BOLT, SMALL FLANGE [USE 90105-06696] 2 2.15
41 90464-10112 CLAMP (160x8.00) 1 1.10