Technical Sports One, LLC Banner

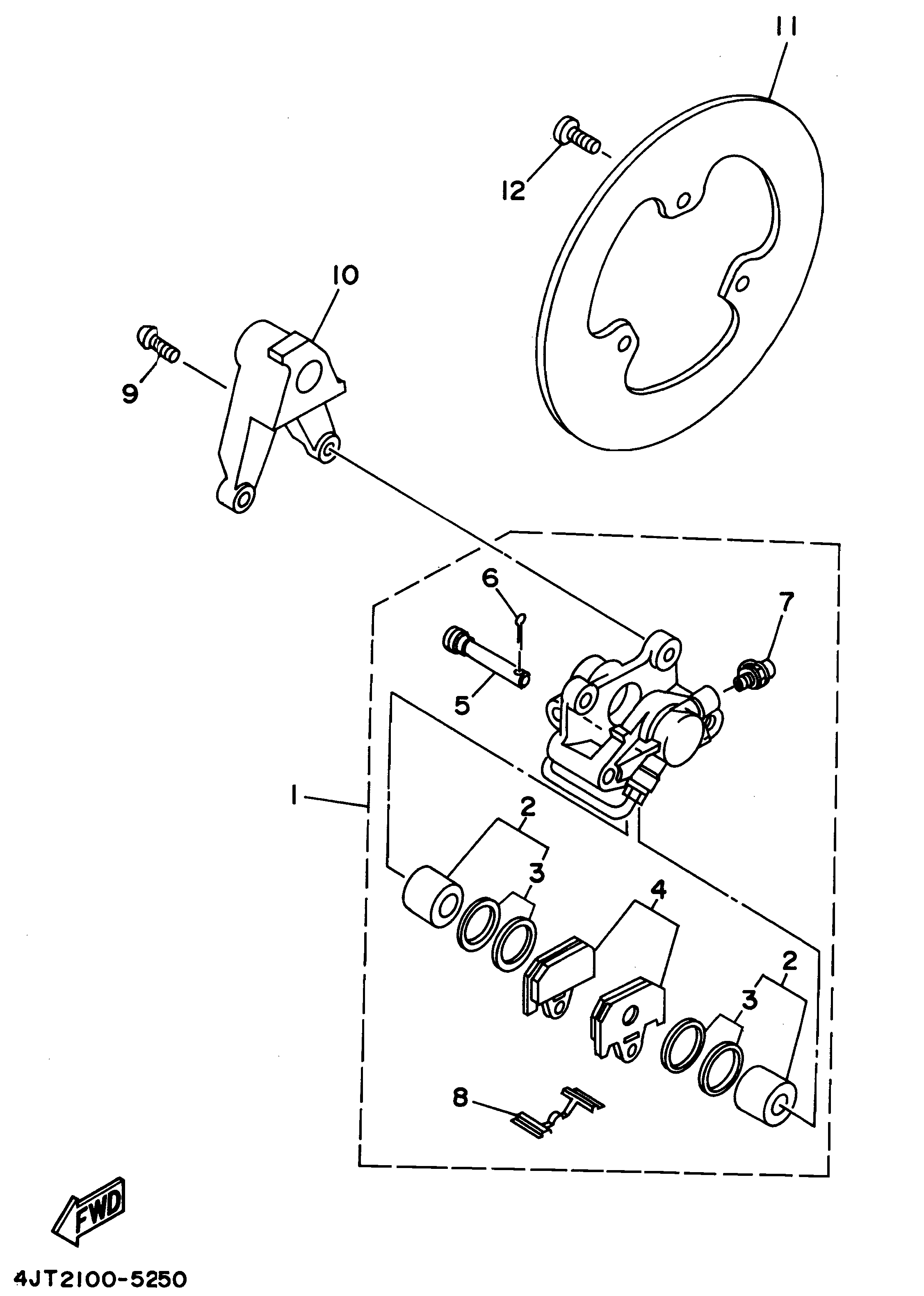
1996 Yamaha TZ250 (4TW1) - F10 Rear Brake Caliper / Rear Brake Disk

Technical Sports One, LLC 1996 Yamaha TZ250 (4TW1) the Rear Brake Caliper / Rear Brake Disk

This image is the property and copyright of Yamaha Motor Co., Ltd


Ref Part Number Description Qty Req Qty 1 Price Buy
1 4JT-2580W-00 CALIPER ASSY, REAR 2 1 799.10
2 4DP-W0057-00 PISTON ASSY, BRAKE CALIPER (se) 1 0.00
3 3LC-W0047-50 CALIPER SEAL KIT 1 38.65
4 4TW-W0046-00 BRAKE PAD KIT 2, REAR CALIPER 1 58.70
5 4JT-25924-00 PIN, PAD 1 16.80
6 91490-16020 PIN COTTER 1 2.50
7 36Y-W0048-00 BLEED SCREW KIT 1 9.75
8 3LC-25919-50 SUPPORT, PAD (se) 1 0.00
9 92017-08020 BOLT, BUTTON HEAD (8x20) 2 1.10
10 4TW-25819-00 BRACKET, CALIPER (se) 1 0.00
11 4DP-2582W-00 DISC, REAR BRAKE 2 (se) 1 0.00
12 90149-08152 SCREW (4H7) [USE90149-08013 ] 3 1.60